If you own a ‘Wolf’ XD Defender (WMIK, TUL or TUM) then there’s a small job that you really need to be doing and the sooner the better….the inspection of the rear chassis cross member.
The condition of the chassis on any Land Rover is important, a rotten rear cross member will need expensive repairs but on the XD you can prevent rust from ever becoming a problem.
As you may know the XD series of trucks differs in many ways to its standard Defender cousin, one significant difference being the chassis. The rear cross member that externally appears to be thoroughly solid (in the traditional way) is in fact simply a thin steel cover plate that conceals the actual structural components hidden behind. This design allows for easier repairs or replacement of the reinforced rear chassis sections.
We can latterly benefit from this feature by removing the cover plate to clean and inspect the rear chassis sections with ease, something you simply can’t achieve with a standard Land Rover chassis. So, having completed this little project I thought I’d encourage other owners to have a go. I reckon if you spend a few hours now you could save many more hours (and money) later.
So, here we go…. a few pointers.
Time
Allow yourself a good day to complete the work, this includes tea breaks and time to watch the paint drying! If you can work in a dry garage all the better, however the work will not disable your truck so you can always take your time and drive the vehicle between sessions. Ideally the truck should be dry, it just makes the job easier.
Tools, etc
Standard sockets, extensions and ring spanners. All the usual sizes (13mm, 17mm, 19mm, etc. Some grease, oil, WD40, penetrating oil etc. and I’d suggest that some aerosol rust inhibitor and wax treatment (Dinitrol “ML” and “3125” are ideal) are to hand.
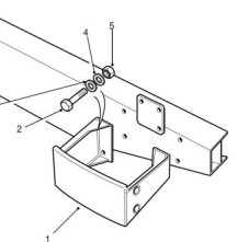
Which bolts to loosen, or remove?
Refer to the illustrations and photograph…




Nuts/Bolts to remove: -
(a) Corner Bumpers – 4 bolts each side
(b) Tow gear/jaw – 4 bolts with backing plate, etc.
(c) Chassis outrigger to body – 4 vertical bolts
(d) Towing electrical socket – remove cover plates only
Nuts/Bolts to loosen: -
(e) Body capping bracket – 2 each side
(f) (Soft-top Only) Tailgate Brackets - remove

Method
Nuts/Bolts (a), (b) and (f) are obvious. Bolts (c) are vertical into the chassis and can be tight or seized. If so DON’T go Rambo on them as they screw into a captive plate which you can’t reach. Suggest a good spray with WD40 or penetrating oil from above and have much patience and tenderness. You can replace these bolts with new ones, suitably protected with copper-slip, to make it easy for next time. Take your time…. you can even apply the penetrating oil a week or so before, the captive bolts aren’t visible so you need to be liberal with a small extension nozzle both top and bottom.
Fixings (d) are obvious, you don’t need to disconnect the electrical wiring as the cover plate will pass over the socket. Nuts/Bolts (e) are obvious, but you can just loosen these as they only secure the captive plate to the body. Once everything is removed, or loosened, the cover plate may simply lift off, excellent. If not then it can get pinched between the body and outriggers, you can try gently lifting the rear body slightly with a jack and wooden block, or use a lever to prise the cover away. The cover plate is part number ANR3840 (and is available) so can be replaced if necessary.
Finally remove the jate ring from each side so you can access the bolt holes through the chassis rail.

What next?
Once the cover is removed you discover the hidden world of the XD rear chassis. The main chassis rails are open-ended, the central box section can be inspected and the whole assembly can be thoroughly brushed and cleaned. You’ll probably find a good depth of crud, sand and mud has collected deep in the chassis rails. The plan is to remove the crud, flaky paint, etc and get back to a clean surface. This is where an air-line isn’t a great idea, that would just blast muck everywhere and probably back into the chassis. I suggest you get an old vacuum cleaner, fashion a suitable nozzle from old plastic tube and suck the dirt out. This is why it’s best done dry; a long wooden poking stick will help loosen the stubborn stuff that’s hard to reach.
A torch, poking sticks, hand-crafted suction nozzles and determination will get every nook clean. Don’t forget the jate ring area, poke about and apply suction to the mounting holes to get that area clear too. Use a wire brush on areas you can reach. You are not going to paint these areas, at least not in the conventional sense, so a perfect finish isn’t necessary.
The next stage is preservation. To prevent rust starting, or stop it spreading, you need an effective coating that creeps into every seam, corner and fold of those otherwise unreachable areas. I’ve found “Dinitrol ML” to be a remarkable solution. It’s supplied with a long extension hose and reliably coats every surface within the box sections. This is allowed to dry for a while before a coat of “Dinitrol 3125” is then applied in the same way. These products are actually used by the MOD for this very purpose and offer a very convincing result. Again, don’t forget the jate ring mount holes. You can also treat the inside of the steel cover plate depending on its condition. Take care NOT to spray Dinitrol into the towing socket electrical terminals, it’s probably worth securing a polythene bag over this to be sure.
Finishing off
It’s just a case of re-assembly, new nuts and bolts if you feel in the mood and you could repaint the outer face of the cover if necessary. Plenty of copper-slip and grease is wise so the job is easy to repeat on a regular basis.
Article by Andy Godward